Работаем с 09:00 до 18:00 по МСК
0
0
Корзина
Позиций : 0 позиций
Всего : 0 ₽
icon
0
0
Корзина
Позиций : 0 позиций
Всего : 0 ₽
Меню

Каталог

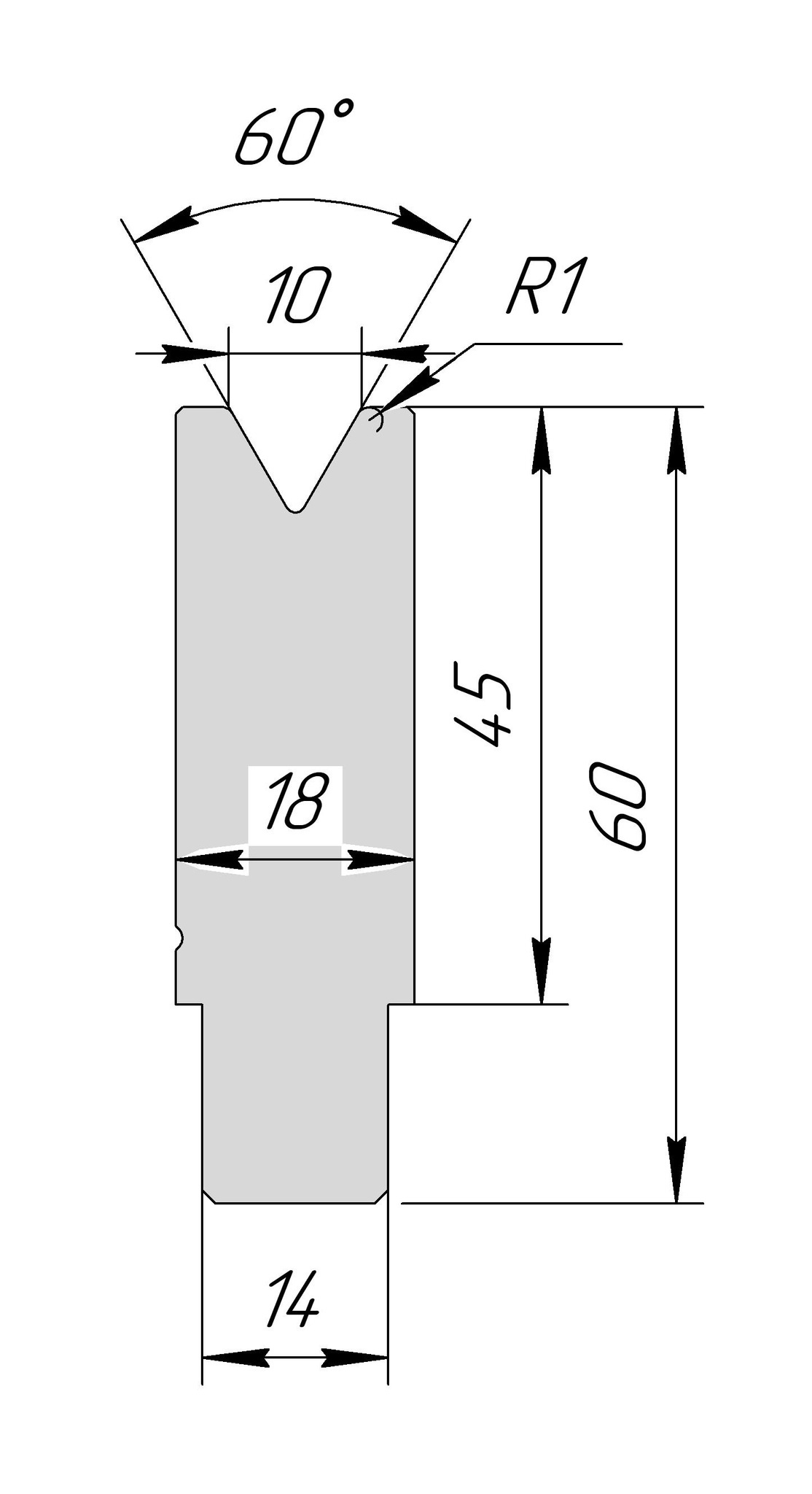
Матрица-вставка AM 3195 60° V10 H60
Матрица-вставка AM 3195 60° V10 H60
Длина
  • 415мм цельный
  • 835мм секционный
  • 835мм цельный
  • -
    35 000 ₽
    Наличие:

    Матрица-вставка для гибочных станков AM 3195 V10 с углом 60° и высотой 60 мм предназначена для точной гибки металла толщиной 0,8 - 2 мм (для обычной стали).

    Эта матрица-вставка имеет V-образный вырез (ручей) размером V10, который позволяет выполнять гибку с минимальным радиусом и высокой точностью, необходимыми для работы с металлическими листами различной толщины. Угол 60° обеспечивает дополнительное пространство для гибки, что позволяет использовать матрицу для сложных гибочных операций, требующих высокой точности и минимальных усилий.

    Матрица обеспечивает минимальный отгиб (минимальная полка) при 90° — 6,5 мм без учета толщины металла, согласно таблице усилий.

    Изготовлена из высококачественной легированной стали 42CrMo, матрица-вставка имеет твердость в теле 35-38 HRC. Рабочие части подвергнуты индукционной закалке на глубину 4-5 мм до твердости 50-55 HRC, что обеспечивает долговечность инструмента даже при интенсивной эксплуатации.

    Матрица также прошла антикоррозионную пескоструйную обработку, что предотвращает образование ржавчины и сохраняет первоначальные свойства инструмента со временем.

    Эта матрица-вставка может использоваться вместе с держателем вставок DIH 3173, что обеспечивает дополнительную универсальность и удобство в работе.

    Если вам нужен инструмент для высокоточной гибки металлических листов с минимальным радиусом и под углом 60°, матрица-вставка AM 3195 V10 станет отличным выбором для вашего производства.

    Секции инструмента:

    Матрицы для гибочных станков системы крепления AMADA PROMECAM имеют следующие длины секций:

    1. 835мм цельная;
    2. 415мм цельная;
    3. 835мм секционная.

    Материал и закалка:

    Для изготовления инструмента (пуансонов и матриц) для листогибов используется сталь 42CrMo, обладающая высокой прочностью и ударной вязкостью. После термической обработки рабочей части сталь 42CrMo имеет высокий предел выносливости и устойчивость к многократным динамическим нагрузкам.
    Твердость тела гибочного инструмента 29,1 – 36,9 HRC позволяет сохранить баланс между вязкостью и твердостью, чтобы обеспечить высокий тоннаж, но избежать охрупчивания гибочного инструмента.
    Твердость рабочей части инструмента для листогибов 55-58HRC позволяет работать с высокопрочными сталями, обеспечивая высокую прочность рабочих кромок.
    Bending_Set_with_description.webp

    Ключевые преимущества:

    Высокопрочная сталь 42CrMo - Предлагаем гибочный инструмент только из стали 42CrMo с твердостью 30-37 HRC

    Индукционная закалка до 50-55 HRC - Рабочие части нашего гибочного инструмента индукционно закаляются до 50-55 HRC на глубину 4-5мм

    Гарантия повторяемости геометрии - Гарантируем повторяемость геометрии гибочного инструмента, даже если они из разных партий

    Гарантия качества по договору - Не считаем наш инструмент для гибочных станков расходным материалом, поэтому гарантируем качество в договоре

    Быстрая доставка - Отправим ваш груз до терминала в вашем городе. Работаем по России и странам СНГ.


    • Угол 60°
    • Рабочая высота, мм 60
    • Марка стали 42CrMo
    • Система крепления инструмента AMADA-PROMECAM
    • Максимальная допустимая нагрузка, Т/м 60
    • Ширина раскрытия матрицы V, мм. 10
      Матрица-вставка AM 3195 60° V10 H60
      35 000 ₽

      Популярные в разделе

      Популярные в разделе

      T-матрица AT 3079 30° V25 H120
        58 500 ₽
      Длина
      • 415мм цельный
      • 835мм секционный
      • 835мм цельный
      шт
      T-матрица AT 3078 30° V20 H120
        58 500 ₽
      Длина
      • 415мм цельный
      • 835мм секционный
      • 835мм цельный
      шт
      T-матрица AT 3077 30° V16 H120
        58 500 ₽
      Длина
      • 415мм цельный
      • 835мм секционный
      • 835мм цельный
      шт
      T-матрица AT 3076 30° V12 H120
        58 500 ₽
      Длина
      • 415мм цельный
      • 835мм секционный
      • 835мм цельный
      шт