Работаем с 09:00 до 18:00 по МСК
0
0
Корзина
Позиций : 0 позиций
Всего : 0 ₽
icon
0
0
Корзина
Позиций : 0 позиций
Всего : 0 ₽
Меню

Каталог

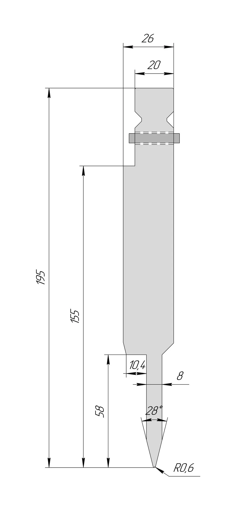
Пуансон для плющения HTP 1249 28° H195 R0,6
Пуансон для плющения HTP 1249 28° H195 R0,6
Длина
  • 500мм цельный
  • 550мм секционный
  • -
    126 100 ₽
    Наличие:

    Пуансон HTP 1249 предназначен для выполнения операций плющения под углом 28°, что делает его идеальным для задач, требующих точного и аккуратного сглаживания поверхности материала. С высотой 195 мм (H195), он обеспечивает достаточный зазор для разнообразных операций, особенно при работе с материалами большого формата.

    Радиус конца пуансона составляет 0,6 мм (R0,6), что предотвращает появление повреждений и острых кромок на обрабатываемом материале, особенно на тонких или мягких металлах. Этот радиус также способствует равномерному распределению усилия в процессе плющения, улучшая качество конечного изделия.

    Пуансон HTP 1249 оснащен системой крепления Trumpf, что делает его совместимым с оборудованием данной марки и обеспечивает быструю и надежную установку в станке. Материал, из которого изготовлен пуансон, отличается высокой прочностью и износостойкостью, что гарантирует длительный срок службы даже при интенсивном использовании.

    Секции инструмента:

    Пуансоны для гибочных станков системы крепления TRUMPF имеют следующие длины секций:

    1. 500мм цельный;
    2. 200мм цельный;
    3. 550мм секционный. Крайние секции длинами 100мм имеют криволинейные вырезы, т.н. "сапожки".

    WILA TRUMPF система порезки

    Материал и закалка:

    Для изготовления инструмента (пуансонов и матриц) для листогибов используется сталь 42CrMo, обладающая высокой прочностью и ударной вязкостью. После термической обработки рабочей части сталь 42CrMo имеет высокий предел выносливости и устойчивость к многократным динамическим нагрузкам.
    Твердость тела гибочного инструмента 29,1 – 36,9 HRC позволяет сохранить баланс между вязкостью и твердостью, чтобы обеспечить высокий тоннаж, но избежать охрупчивания гибочного инструмента.
    Твердость рабочей части инструмента для листогибов 55-58HRC позволяет работать с высокопрочными сталями, обеспечивая высокую прочность рабочих кромок.
    Bending_Set_with_description.webp

    Ключевые преимущества:

    Высокопрочная сталь 42CrMo - Предлагаем гибочный инструмент только из стали 42CrMo с твердостью 30-37 HRC

    Индукционная закалка до 50-55 HRC - Рабочие части нашего гибочного инструмента индукционно закаляются до 50-55 HRC на глубину 4-5мм

    Гарантия повторяемости геометрии - Гарантируем повторяемость геометрии гибочного инструмента, даже если они из разных партий

    Гарантия качества по договору - Не считаем наш инструмент для гибочных станков расходным материалом, поэтому гарантируем качество в договоре

    Быстрая доставка - Отправим ваш груз до терминала в вашем городе. Работаем по России и странам СНГ.


      Пуансон для плющения HTP 1249 28° H195 R0,6
      126 100 ₽

      Популярные в разделе

      Популярные в разделе

      Пуансон для плющения HTP 1251 28° H195 R0,6
        117 000 ₽
      Длина
      • 500мм цельный
      • 550мм секционный
      шт
      Пуансон для плющения HTP 1250 28° H195 R0,6
        126 100 ₽
      Длина
      • 500мм цельный
      • 550мм секционный
      шт
      Пуансон TP 1316 26° H195 R0,8
        29 800 ₽
      Длина
      • 200мм цельный
      • 500мм цельный
      • 550мм секционный
      шт
      Пуансон TP 1308 28° H140 R1
        43 800 ₽
      Длина
      • 200мм цельный
      • 500мм цельный
      • 550мм секционный
      шт